コンテンツへスキップ
GAMEKO
PS5やXbox Series X、Nintendo Switch、iOSゲーム、レトロゲームのニュースや話題
メニュー
PS5
Xbox
Nintendo
iOS
レトロゲーム
ゲームグッズ
周辺機器
検索:
記事内にプロモーションを含む場合があります
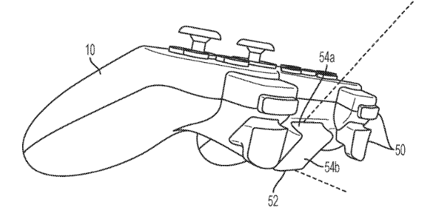
Dualshock5-02.png
投稿ナビゲーション
古い投稿
タッチスクリーン搭載のDual Shockの特許、PS5用か?PS4でも使えるかも
モバイルバージョンを終了